eoPortal

Satellite Missions Catalogue

Last updated:Oct 16, 2023

EO

COSPAS-SARSAT is an intergovernmental humanitarian constellation of search and rescue satellites. It is a cooperative program of 45 nations that began in 1979 by Canada, France, the United States and the Soviet Union. COSPAS-SARSAT relays emergency location data, known as SAR (Search and Rescue) data, to authorities in each of the 45 signatory nations to enable search and rescue operations. There are currently 62 operational satellites within the program.

Quick facts

Overview

Mission typeEO
COSPAS-SARSAT (Image Credit: ESA)


 

Summary

Mission Capabilities

The COSPAS-SARSAT program consists of COSPAS (Space System for the Search of Distressed Vessels) or SARSAT (Search and Rescue Satellite Aided Tracking System) satellites that both detect, process and relay distress beacons. The satellites can be categorised  according to their orbit, either as LEOSAR (Low Earth Orbit SAR) satellites, GEOSAR (Geostationary Earth Orbit SAR) satellites or MEOSAR (Medium-altitude Earth Orbit SAR) satellites. The ground segment of the program is made up of receiving ground stations, known as Local User Terminals (LUTs), Mission Control Centres (MCCs) and Rescue Coordination Centres (RCCs). Within the program, there are two different types of payload, SARR (Search and Rescue Relay) payloads that relay collected data to ground stations, and SARP (Search and Rescue Processing) payloads that collect location and characteristic data on distress beacons. The SARR and SARP payloads are often secondary payloads on separate satellites.

 

Performance Specifications

Each group of COSPAS-SARSAT performs differing roles in the data collection and relay process. The five operational LEOSAR (orbit altitude > 2000 km) satellites are used for geolocation of detected beacons, and are equipped with SARP payloads. Signals from distress beacons are received by the Low-Earth polar orbiting LEOSAR satellites, producing relative motion between the source and satellite, enabling the use of Doppler processing to determine the bearing and range of the source from the satellite, with an accuracy of 2km. The LEOSAR segment of the program, however, is limited by the relatively low coverage the Low Earth orbit affords it, as the constellation’s revisit times for equatorial and lower latitude regions can be as low as a single pass every 24 hours. GEOSAR satellites, of which there are 11 operational, utilise a geostationary orbit, at an altitude of 36,786 km  for constant observation of a large region. This allows near instantaneous detection of emergency signals, however, due to a lack of relative motion, no Doppler induced frequency shift occurs, and source location cannot be determined. Therefore, GEOSAR satellites are equipped with SARR payloads, for the detection and relaying of beacon signals. The MEOSAR series aims to include the capabilities of both LEOSAR and GEOSAR, without the limitations in coverage and application. To achieve this, 46 medium-altitude (2000 - 35,786 km orbit altitude) Earth orbiting satellites have been equipped with both SARR and SARP modules. The high number of satellites within this constellation allows for near instantaneous detection and relay of beacon signals, and the medium-altitude orbit creates relative motion between source and receiver, permitting the calculation of source location through Doppler processing.

All modern COSPAS-SARSAT beacons transmit at a 406.025 mHz frequency, while older models transmit at 121.50 mHz. In terms of orbital parameters, the MetOp-B satellite carries an operational SARSAT module, and operates in a sun-synchronous orbit at altitude 827 km, inclination 98.7° and LTAN (Local Time at Ascending Node) of 0930 hours. However, specific orbit features are not common between missions carrying the SARSAT module.

 

Space and Hardware Components

The COSPAS-SARSAT ground segment consists of three stages, Local User Terminals (LUTs), Mission Control Centres (MCCs) and Rescue Coordination Centres (RCCs). LUTs are grouped by the series of satellites they interact with and form the categories LEOLUTs (Low Earth Orbit Local User Terminals), GEOLUTs (Geostationary Earth Orbit Local User Terminals) and MEOLUTs (Medium-altitude Earth Orbit Local User Terminals). LUTs have four objectives, to track COSPAS-SARSAT satellites, recover beacon signals from satellites, perform Doppler processing calculations to locate signal sources, and to relay Doppler solutions to an associated MCC. The next stage is the MCCs, which carry out 5 tasks: receive data from nationally associated LUTs and international MCCs, match signals originating from the same signal source, merge beacon signals from identical sources, geographically sort data and transmit data and alerts to relevant RCCs. The final stage, RCC, is formed from a variety of different state rescue services, depending on the responding nation.

COSPAS-SARSAT (International Satellite System for Search and Rescue Services)

User Segment   Spacecraft   Payloads (LEO)   Mission Status     Ground Segment   Payloads (GEO)   References

The COSPAS-SARSAT system is an international, humanitarian satellite-based search and rescue system and service which can detect and locate transmissions from emergency beacons carried by ships, aircraft, or people -- which operates 24 hours a day, 365 days a year. Use of the COSPAS-SARSAT system is free to the beacon operator. Once the rescue signals are detected and verified (located) by the system, search and rescue operations can be initiated.

COSPAS (Cosmicheskaya Systyema Poiska Aariynyich Sudov) which translates to (Space System for the Search of Distressed Vessels), and SARSAT (Search & Rescue Satellite Aided Tracking System) payloads are part of an international cooperative satellite-based radiolocation system to support search and rescue operations for aviators, mariners, and land travellers in distress. COSPAS is the original system developed by Russia (former Soviet Union) in the mid-1970s; SARSAT was developed in parallel by France, Canada, and the USA. 1) 2)

The COSPAS-SARSAT system provides distress alert and location data to RCCs (Rescue Coordination Centers) for 121.5 MHz beacons within the coverage area of COSPAS-SARSAT ground stations, referred to as LUTs (Local User Terminals), and for 406 MHz beacons activated anywhere in the world. The overall system concept is illustrated in Figure 3. The nominal system configuration comprises two COSPAS and two SARSAT payloads on polar-orbiting satellites. Russia provides two COSPAS satellites in near-polar orbits at an average altitude of 1000 km (83º inclination). The USA supplies two NOAA POES satellites with on-board SARSAT payloads provided by Canada and France. The orbital period for each satellites is about 100 minutes, the footprint of the COSPAS-SARSAT visibility is in the order of 4000 km in diameter. The first COSPAS payload was launched on June 29, 1982, while the first SARSAT equipment was flown on NOAA-8, launched in March 1983. Note: The Nadezhda (”Hope”) spacecraft series are modified “Tsikada” satellites of Russia that are being used in support of navigation services and/or of COSPAS-SARSAT services (the launch site is Plesetsk, Russia). 3) 4) 5)

Note: The interested reader is referred to the homepage of COSPAS-SARSAT (reference 1) for detailed documentation on all aspects of the system. This file can only serve for a quick overview of the system.

 

Background

The early SAR history started in the 1960s when light aircraft and some marine vessels started carrying small, battery-operated radio transmitters, operating at the international distress frequency of 121.5 MHz, that could be activated in an emergency distress situation. Such transmitters, called Emergency Locator Transmitters (ELTs) on aircraft, and Emergency Position Indicating Radio Beacons (EPIRBs) on ships, emitted a low-power signal that could be picked up by a receiver in a nearby air traffic control tower or by an aircraft in the vicinity, thus providing only line-of-sight coverage if one was searching in that location. - By the mid-1970s, more than 250,000 distress beacons were in service in Canada, Europe and the USA. Lives of aviators and mariners were being saved thanks to these transmitters, but there was still room for improvement, particularly as it was now the `space age'. 6) 7) 8) 9) 10) 11)

• The beginnings of SARSAT date back to 1970 when a plane carrying two U.S. congressmen crashed in a remote region of Alaska. A massive search and rescue effort was mounted, but to this day, no trace of them or their aircraft has ever been found. In reaction to this tragedy, the US congress mandated that all aircraft in the United States carry an Emergency Locator Transmitter (ELT). This device was designed to automatically activate after a crash and transmit a homing signal.

• On May 6, 1977 the USSR and USA signed the COSPAS-SARSAT Treaty covering deployment of an international system of emergency beacon receivers aboard satellites.

• On November 23, 1979 a Memorandum of Agreement was signed by the agencies of USA, Russia (i.e., the former USSR), Canada, and France on the implementation of the COSPAS-SARSAT system. Under this Memorandum of Agreement, Russia built and launched LEO satellites with the COSPAS payload [on Tsikada and Nadezhda (Hope) satellite series], while the USA carried the SAR payloads, built by Canada and France, on their NOAA weather satellites (POES series) for the SARSAT system. Note: the Memorandum of Agreement is also referred to as ICSPA (International COSPAS-SARSAT Program Agreement).

• The first LEO satellite in the COSPAS-SARSAT system was launched on June 29, 1982 by the former USSR (see Table 3). The COSPAS-SARSAT system was declared operational in 1985. 12)

• The first GEO satellite in the COSPAS-SARSAT system with a GEOSAR (Geostationary Search and Rescue) payload was flown on the NOAA satellite GOES‐7 (launch Feb. 26, 1987).

• In 1988 the four space segment providers signed an agreement which ensures service continuity and availability of the system to all States on a non-discriminatory basis - this is referred to as the “International COSPAS-SARSAT Program Agreement.” The International COSPAS-SARSAT Program Agreement established a Council and a Secretariat. The Council oversees the implementation of the Agreement and coordinates the activities of the Parties. The Secretariat, the permanent administrative organ of the Program, takes directions from the Council. The international COSPAS-SARSAT Secretariat is located in London, UK (at Inmarsat).

• ISRO introduced the COSPAS‐SARSAT service over the Indian Ocean in 1992 with its SASAR (Satellite Aided Search and Rescue) payload flown on the GEO INSAT-2 series, starting with INSAT-2A (launch July 9, 1992). GEOSAR is also flown on the MSG series of EUMETSAT (launch of MSG‐1 Aug. 28, 2002, renamed to Meteosat‐8 as of Jan. 29, 2004 when the operational service officially started). 13)

In 2004, the participating countries and organizations of the COSPAS-SARSAT program included:

- The four parties to the COSPAS-SARSAT International Program Agreement [Canada (CRC), France (CNES), Russia (ROSHYDROMET), and the USA (NOAA)] that provide and operate the satellites and the ground segment equipment

- 24 ground segment providers that operate ground receiving stations the Local User Terminals (LUTs) and Mission Control Centers (MCCs) for the worldwide distribution of distress alerts (over 40 LUTs for LEOSAR - also referred to as LEOLUTs)

- Nine participants associated with the management of the system.

Note: Several countries participating in COSPAS-SARSAT service are represented by their SAR agency or a maritime or aviation agency, rather than their space agency.

• In 2005, Montreal, Canada became the new home of the Cospas-Sarsat Program office.

• In early 2007, ISRO (Indian Space Research Organization) signed a formal Understanding with COSPAS-SARSAT concerning the long-term provision of INSAT GEOSAR services.

On February 1, 2009 an era of emergency beacon support ended: the 121.5 and 243 MHz emergency beacons were phased out for satellite distress alerting (in accordance with the 2000 Council decision). The decision to stop satellite processing of 121.5 / 243 MHz signals is due to problems in this frequency band which inundate search and rescue authorities with poor accuracy and numerous false alerts, adversely impacting the effectiveness of lifesaving services. 14) 15)

Thirty years after the inception of COSPAS-SARSAT, a new chapter is opening for the international program: analog beacons have been phased out, digital 406 Mhz beacons are fully operational, new generation SARSAT-3 instruments are launch on the US NOAA satellites and the European MetOp satellites. Furthermore, the COSPAS-SARSAT organization is preparing the future, with the integration of a MEOSAR component that will use the GNSS (Global Navigation Satellite Systems) constellations.



 

Alert Signal Devices (User Segment)

There are three types of radiobeacon devices (heritage of older rescue services) in use, namely maritime EPIRBs, aviation ELTs, and personal locator beacons (PLBs). 16) 17)

1) EPIRB (Emergency Position Indicating Radio Beacon) for use in maritime applications. A small battery-powered transmitting device which is carried on vessels (several nations require EPIRB devices on all vessels). It can be activated in times of trouble to send out help signals. EPIRB devices operate on a frequency of 121.5/243 MHz (the 243 MHz frequency is used only in some older beacons), they may also include the 406.025 MHz alert signal for global detection.

Introduction of new EPIRB technology in 2009: The 406 MHz EPIRB emits a low power, 25 mW sweeping-tone signal constantly on 121.5 MHz, but emits a 5 W burst about every 52 seconds at 406 MHz. Hence, the 406 MHz emission is 200 times stronger than the 25 mW sweeping-tone signal. If the EPIRB is equipped with an internal or external GPS capability, not only can the 406 MHz DF (Direction Finder) accurately track the course to the 406 MHz signal, but future capabilities will allow the operator to read a GPS position on a monitor inside the search aircraft. Proper registration of a beacon can further assist SAR services by providing immediate access to data critical to mission success.

2) ELT (Emergency Locator Transmitter) for aviation use. The 121.5 MHz band service emergency beacons are required on many aircraft, referred to as ELT 121.5, with a smaller number carried on maritime vessels. The 121.5 MHz frequency band is used by an older type of beacons which do not transmit any encoded information. It is also the frequency used for low-power homing transmitters included in most beacons. The more recent ELT devices on aircraft are provided with dual frequency alert systems, 121.5 and 406.025 MHz.

The development of the new generation of beacons transmitting at 406 MHz commenced at the beginning of the COSPAS-SARSAT project in the mid-1970s. Although the COSPAS-SARSAT system was primarily designed to function on the much improved 406 MHz frequency, it still had to make a provision for the thousands of 121.5 MHz beacons already in use. For this reason, the satellites were designed to receive 121.5 MHz as well.

The 406 MHz units were designed specifically for satellite detection and Doppler location by having:

- High peak power output and a low duty cycle

- Improved radio frequency stability

- A unique identification code in each beacon

- Digital transmissions that could be stored in a satellite's memory

- A spectrum dedicated by the ITU (International Telecommunication Union) solely for distress beacons.

The 406 MHz beacons transmit a 5 W, half-second burst approximately every 50 seconds. The carrier frequency is phase-modulated with a digital message. The low duty cycle provides a multiple-access capability of more than 90 beacons operating simultaneously in view of a polar orbiting LEO satellite, versus only about 10 for 121.5 MHz beacons.

3) PLB (Personal Locator Beacon) used for land-based applications (basically an ELT when carried by a person, but not used in aviation or maritime applications). These are handheld or pocket size dual frequency (121.5 and 406 MHz) or single frequency (either 121.5 or 406.025 MHz) devices which transmit distress signals to search and rescue authorities via the COSPAS-SARSAT satellite system. On July 1, 2003, FCC (Federal Communication Commission) of the USA authorized the use of PLBs (406 MHz digitally encoded) on a nationwide basis.

At the start of the 21st century, there are more than 30 manufacturers of 406 MHz beacons in 12 countries, and many more distributors around the world, with over 100 different models type-approved by COSPAS-SARSAT. The number of 406 MHz beacons in use has increased dramatically from zero in 1985 to 20,000 in 1990 and to about 350,000 today.

The international Council of COSPAS-SARSAT decided in October 2000 [in response to guidance from the IMO (International Maritime Organization) and the ICAO (International Civil Aviation)] to cease processing the 121.5 MHz analog signals by satellite on 1 February 2009. From that date on, only the 406 MHz beacons will be detected by satellite. The decision was made to reduce the chronically high false alarm rate from analog distress beacons. Currently 97 percent of analog distress beacon signals are false alarms.

Figure 1: Illustration of typical PLBs (Personal Locator Beacon) systems (image credit: NOAA)
Figure 1: Illustration of typical PLBs (Personal Locator Beacon) systems (image credit: NOAA)
Figure 2: Overall system configuration of COSPAS-SARSAT (image credit: COSPAS-SARSAT)
Figure 2: Overall system configuration of COSPAS-SARSAT (image credit: COSPAS-SARSAT)



 

Spacecraft

The overall COSPAS-SARSAT system architecture (space segment) includes two types of satellites to collect and relay emergency messages from the ground segment: 18) 19)

• Spacecraft in LEO (Low Earth Orbit) carrying either the COSPAS or the SARSAT payload (generically referred to as LEOSAR). The LEOSAR system is the longest one in use.

• Spacecraft in GEO (Geostationary Earth Orbit) carrying an SAR payload (generically referred to as GEOSAR).

• Spacecraft in MEO (Medium Earth Orbit) carrying the MEOSAR (MEOSAR)payload. This service refers to plans to install a MEOSAR secondary payload on the navigation satellite constellations (GPS, GLONASS, and Galileo) - starting in about 2013.

Figure 3: System elements of Search and Rescue Satellites
Figure 3: System elements of Search and Rescue Satellites
Figure 4: The initial participants in COSPAS-SARSAT: Nadezhda, POES & GOES of NOAA (clockwise from lower right), image credit: CNES
Figure 4: The initial participants in COSPAS-SARSAT: Nadezhda, POES & GOES of NOAA (clockwise from lower right), image credit: CNES
Figure 5: Schematic of the COSPAS-SARSAT space segment (image credit: COSPAS-SARSAT) new version as of Feb. 1, 2009
Figure 5: Schematic of the COSPAS-SARSAT space segment (image credit: COSPAS-SARSAT) new version as of Feb. 1, 2009
Figure 6: Schematic of the COSPAS-SARSAT space segment (image credit: COSPAS-SARSAT) old version
Figure 6: Schematic of the COSPAS-SARSAT space segment (image credit: COSPAS-SARSAT) old version
Figure 7: Illustration of COSPAS-SARSAT spacecraft in LEO (image credit: COSPAS-SARSAT)
Figure 7: Illustration of COSPAS-SARSAT spacecraft in LEO (image credit: COSPAS-SARSAT)



 

Sensor Complement (LEO Space Segment or LEOSAR)

The nominal LEO satellite constellation consists of four spacecraft payloads, two SARSAT and two COSPAS providing parallel services for 121.5 MHz and 406 MHz beacons.

This system worked well, and is still in use today (2008). However, the LEOSAR configuration has inherent time delays, ranging from minutes to hours, in detecting and relaying distress signals because the low altitude satellites (< 1000 km) view only a small portion of the Earth at any instant as they circle the globe. In particular, the LEO system could not be made much better for 121.5 MHz beacons, due to technical limitations of the beacons and the radio channel.

The original LEO system also carried payloads that allowed for the implementation of new digital distress beacons operating at 406 MHz, far superior to the original analog 121.5 MHz beacons. Beacons with the 406.025 MHz signal transmit digitally encoded information which may include beacon identification (which allow COSPAS-SARSAT services to access registration data bases providing additional information on the unit in distress), and beacon location data (determined by satellite navigation devices such as flown on GPS or GLONASS spacecraft). The new beacons at 406.025 MHz permit the distress location to be automatically computed by the satellite system ten times more accurately (to within 2 km) and the beacon user to be identified, whereas the old 1960s technology beacons at 121.5 MHz gave only an approximate location (to within 20 km) and no user identification, since the 'wow, wow, wow' sound of the signal was similar for all these beacons.

In addition, the 406 MHz system provides global coverage for beacons activated anywhere on Earth, as the beacon signals are stored onboard the satellite and retransmitted to each ground station as the satellite orbits the Earth.

SARSAT (Search and Rescue Satellite Payload)

The SARSAT payload consists of SARR (SARSAT Repeater), provided by CRC/Canada [National Search and Rescue Secretariat (NSS) is funding SARR while DND (Department of National Defense)]; SARP (SARSAT Processor), provided by CNES/France, and the antenna system provided by the USA. The SAR service problem requires two basic functions for effective SAR operations to take place, namely: 1) alerting and 2) locating. The alerting function only requires a low-capacity one-way communications system. The locating function, however, places far more demands on the system. The overall system uses low-powered battery-operated distress transmitters that are received by polar orbiting satellites with an SAR subsystem on-board.

The SAR concept exploits the Doppler shift resulting from relative motion between the distress transmitter and the polar orbiting satellite. A successful alert requires at least one satellite pass over the distress area to detect a signal and locate the position of the emergency transmitter. In some cases a second pass may be required to resolve ambiguity. 20)

Figure 8: SARSAT instrument package valid up to SARSAT-10 (NOAA-18, launch May 20, 2005), image credit: NOAA
Figure 8: SARSAT instrument package valid up to SARSAT-10 (NOAA-18, launch May 20, 2005), image credit: NOAA

The SARSAT payload consist of a 2-band (121.5 MHz and 406.05 MHz) repeater SARR and a 406.025 MHz processor SARP. The SARR downlink is at 1544.5 MHz and, besides the two repeated bands, also includes the 2400 bit/s bit stream SARP output. The 121.5 and 406 MHz bands are also serviced by two Russian COSPAS satellites which, together with the NOAA satellites, provide timeliness of response. 21)

Spacecraft Repeater (121.5, 243, and 406 MHz)

Bandwidths (Doppler shift + drift + Tolerance + guardband)

Parameter

Specification

121.5 MHz

25 kHz (bandwidth)

243 MHz

46 kHz

406.050 MHz

100 kHz

Transmitter power (1,544 MHz)

8 W decibels referenced to a watt (dBW)

Physical Characteristics

Mass, size, power

24 kg, 0.034 m3, 53 W

Spacecraft 406 MHz Processor

Max bandwidth, storage capacity, output data rate

80 kHz, 324 kbit, 2.4 kbit/s

Physical characteristics

Mass, size, power

27.5 kg, 0.034 m3, 33 W

Table 1: SARSAT subsystem parameters
Figure 9: Illustration of the SARR instrument (image credit: NOAA)
Figure 9: Illustration of the SARR instrument (image credit: NOAA)
Figure 10: Illustration of the SARP subsystems (image credit: NASA)
Figure 10: Illustration of the SARP subsystems (image credit: NASA)

Each SARP (SARP) is composed of a receiver processor, referred to as DRU (Data Recovery Unit), FF (Frame Formatter), and a memory unit. Each SARP is configured redundantly. Throughout the service history of COSPAS-SARSAT there existed various implementations/configurations of SARP, namely:

• SARP-1 (Search And Rescue Processor-1): The SARP-1 package was installed on all early spacecraft in the COSPAS as well as in the SARSAT series.

• SARP-2 (Search And Rescue Processor-2): The SARP-2 package has improved performance in system capacity, bandwidth, and protection against interferers. Both long and short messages are supported by this processor. The first SARP-2 configurations were implemented on the NOAA-15 spacecraft (launch May 13, 1998) with the SARSAT-7 payload, as well as on the Nadezhda-7 spacecraft of Russia (launch Sept. 26, 2002) with the COSPAS-10 payload.

• SARP-3 (Search And Rescue Processor-3): SARP-3 is an improved onboard device which was introduced for the first time on the MetOp-A spacecraft of EUMETSAT (launch October 19, 2006). SARP-3 receives and processes emergency signals from the 406 MHz beacons on aircraft and ships in distress. It determines the name, frequency and time of the signal. These preprocessed data are then fed in real-time to the SARR (Search And Rescue Repeater) instrument for immediate transmission to the SARSAT (Search and Rescue Satellite) distress terminals in the ground segment (referred to as LUTs). 22) 23)

The objective of SARP-3 is to detect and locate ELTs (Emergency Locator Transmitters), EPIRBs (Emergency Position-Indicating Radio Beacons), and PLBs (Personal Locator Beacons) operating at 406.05 MHz. SARP-3 detects the signal from 406.05 MHz beacons and stores the information for subsequent downlink to a LUT (Local User Terminal). Thus, global detection of 406.05 MHz emergency beacons is provided which is a requirement of the GMDSS (Global Maritime Distress Safety System). After receipt of information from a satellite's SARP, a LUT locates the beacons by Doppler processing. The principle of the Doppler processing is that a transmitter signal will have different frequencies depending on its location in relation to the receiver. The determined beacon frequency by the SARP-3 differs depending on the relative velocity between beacon transmitter and the SARP-3 receiver. The 406.05 MHz beacons are located with an accuracy of ~ 4 km. The LUT forwards the located distress message to a nearby Mission Control Center (MCC), which forwards the information to a Rescue Coordination Center (RCC).

Note: SARP systems of SARSAT-11 or higher (Table 3) are using the SARP-3 instrument package.

Figure 11: Functional block diagram of the SARSAT SARP-3 (image credit: COSPAS-SARSAT)
Figure 11: Functional block diagram of the SARSAT SARP-3 (image credit: COSPAS-SARSAT)

COSPAS (Space System for Search of Vessels in Distress)

The USSR (Union of Soviet Socialist Republics) began deploying the space segment with the launch of Cosmos 1383 on June 30, 1982 from Plesetsk into a 989 km x 1028 km, 83º inclination orbit (Tsikada is a first generation navigational satellite series). Designated as COSPAS-1, the 121.5 MHz band remained operational until December 1987, with 406 MHz utilized primarily for interference monitoring. Cosmos 1447 (launched March 24, 1983) and 1574 (June 21, 1984) adopted the roles of COSPAS 2 and 3, with a third vehicle available as replacement. The COSPAS payload normally shares the Nadezda (Hope) satellite platform with a Doppler navigation payload of the Tsikada system.

The COSPAS payload is composed of the following elements: a SARR (SARSAT Repeater), a SARP (SARSAT Processor), and uplink and downlink antennas. The SARR provides local mode coverage for the 121.5 MHz band and its parameters. The SARP provides both local mode and global mode coverage for the 406 MHz band. COSPAS payloads may have one of two possible SARP configurations installed: SARP with memory (SARP-1) or an improved SARP with memory (SARP-2). The SARP-2 instrument has improved performance in system capacity, bandwidth, and protection against interferers. Both long and short messages are supported by this processor (Ref.23).

The COSPAS repeater (Figure 15), SARR, is redundantly configured and consists of the following units: a) two dual-conversion receivers; b) two 4.0 W phase modulated L-band transmitters; and c) two Power, Telemetry and Command (PTC) units.

Figure 12: Functional block diagram of the COSPAS system (image credit: COSPAS-SARSAT)
Figure 12: Functional block diagram of the COSPAS system (image credit: COSPAS-SARSAT)
Figure 13: Functional block diagram of the SARSAT-TIROS (POES) payload and S/C with SARR-1 or SARR-2 and SARP-2 or SARP-3 (image credit: COSPAS-SARSAT)
Figure 13: Functional block diagram of the SARSAT-TIROS (POES) payload and S/C with SARR-1 or SARR-2 and SARP-2 or SARP-3 (image credit: COSPAS-SARSAT)
Figure 14: Functional block diagram of the SARSAT-MetOp and SARSAT-NPOESS payload and S/C with SARR-1 or SARR-2 and SARP-2 or SARP-3 (image credit: COSPAS-SARSAT)
Figure 14: Functional block diagram of the SARSAT-MetOp and SARSAT-NPOESS payload and S/C with SARR-1 or SARR-2 and SARP-2 or SARP-3 (image credit: COSPAS-SARSAT)
Figure 15: Functional block diagram of the COSPAS Repeater (image credit: COSPAS-SARSAT)
Figure 15: Functional block diagram of the COSPAS Repeater (image credit: COSPAS-SARSAT)
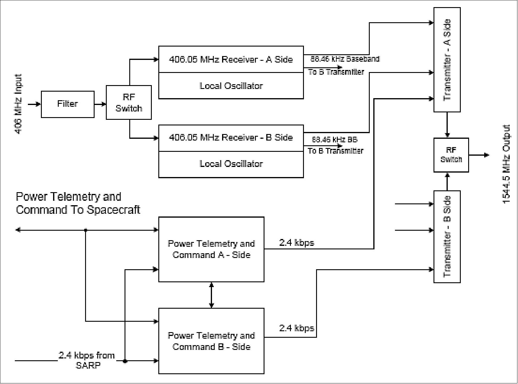
Figure 16: Functional block diagram of SARSAT SARR-1 repeater (SARSAT-13 and earlier), image credit: COSPAS-SARSAT)
Figure 16: Functional block diagram of SARSAT SARR-1 repeater (SARSAT-13 and earlier), image credit: COSPAS-SARSAT)
Figure 17: Functional block diagram of SARSAT SARR-2 repeater (SARSAT-14 and after), image credit: COSPAS-SARSAT)
Figure 17: Functional block diagram of SARSAT SARR-2 repeater (SARSAT-14 and after), image credit: COSPAS-SARSAT)



 

Mission Status

• January 21, 2022: In 2021, NASA played a pivotal role in the Cospas-Sarsat program, contributing its technical expertise to facilitate the rescue of 330 lives within the U.S. network region. Since its inception, NASA's involvement has aided in saving over 48,000 lives worldwide through this international satellite-aided search and rescue effort. The program provides accessible emergency location services to users who purchase commercially available 406 MHz frequency Cospas-Sarsat beacons. When activated, these beacons transmit signals through satellite instruments to ground stations, enabling the calculation of precise positions. Subsequently, the network promptly alerts first responders, providing crucial information about the emergency's location and nature. These beacons come in three types: Personal Locator Beacons (PLBs) for outdoor enthusiasts, Emergency Position Indicating Radio Beacons (EPIRBs) for maritime use, and Emergency Locator Transmitters (ELTs) for aviation.

- NASA's Search and Rescue (SAR) office has been instrumental in enhancing Cospas-Sarsat's capabilities, including aviation studies, next-generation beacon technology, and support for Artemis astronauts. Moreover, the SAR office is actively developing a lunar search and rescue concept, LunaSAR, as part of NASA's broader lunar network development initiative, LunaNet. The U.S. network region for Cospas-Sarsat is managed by the National Oceanic and Atmospheric Administration (NOAA) and relies on technologies developed by NASA's SAR office at the Goddard Space Flight Center. NASA's Space Communications and Navigation (SCaN) program at NASA Headquarters provides strategic oversight for the SAR office, while saves are executed by entities such as the U.S. Coast Guard, U.S. Air Force, and local rescue authorities. 24)

Figure 18: Overview of Cospas-Sarsat rescues in 2021 (image credit: NASA)
Figure 18: Overview of Cospas-Sarsat rescues in 2021 (image credit: NASA)

• June 26, 2015: The APSAR/TF/4 report highlights the operational status of the LEOSAR and GEOSAR space segments. Currently, there are 53 LEOLUTs, 23 GEOLUTs, and 31 MCCs in operation. In LEOSAR category, five spacecraft are operational, namely Sarsat-7, Sarsat-10, Sarsat-11, Sarsat-12, and Sarsat-13. Planned LEOSAR launches include the Russian Cospas-13 and Cospas-14 in 2016 and 2017, respectively, with the U.S. LEOSAR program in the planning and funding stages for a dedicated LEO satellite launch, expected no earlier than 2019. In the GEOSAR space segment, seven satellites are operating at full operational capability. These include two Indian geostationary satellites, INSAT-3A and INSAT-3D, two U.S. geostationary satellites, GOES-15 (West) and GOES-13 (East), two EUMETSAT geostationary satellites, MSG-2 and MSG-3, and one Russian geostationary satellite, Electro-L1. Additionally, Russia's Louch-5A is undergoing testing at position 167ºE, with support from New Zealand, the United States, and Australia for evaluating its performance within the GEOSAR constellation. The GEOSAR constellation is set to expand with the anticipated launches of Electro-L2 (2015), MSG-4 (2015), and GOES-R, GOES-S, GOES-T, and GOES-U (scheduled for 2016, 2017, 2019, and 2025, respectively). 25)

• June 1, 2015: The MEOSAR satellites maintain orbits around Earth within altitudes ranging from 19,000 to 24,000 kilometers. These satellites primarily serve the functions of their respective Global Navigation Satellite Systems (GPS, Galileo, and GLONASS). All MEOSAR satellite constellations employ transparent repeater instruments to relay 406 MHz beacon signals, without performing on-board processing, data storage, or demodulation. The SAR/Galileo and SAR/GLONASS payloads function with downlinks in the 1544 – 1545 MHz band (L-band), while the GPS-DASS utilizes the S-band at 2226 MHz (experimental). The status of MEOSAR payloads is as follows: GPS/DASS – 17, SAR/Galileo – 6, SAR-GLONASS – 2. 26)

MEOSAR Constellation

GPS-DASS (S-band)

GLONASS K

GALILEO (IOV+FOC)

SAR-GPS (L-band)

Number of active satellites

17/24

2/24

6/24

0/24

Number of orbital planes

6

3

3

6

Orbital inclination

55º

64º

56º

55º

Orbital altitude

20,180 km

19,140 km

23,222 km

20,180 km

Orbital period

11 h 58 m

11 h 15 m

14 h 22 m

11 h 58 m

Uplink polarization

LHCP

RHCP

RHCP

LHCP

Downlink frequency/polarization

2226 MHz RHCP

1544.9 MHz LHCP

1544.1 MHz LHCP

1544.9 MHz RHCP

Status

Experimental payloads (S-band)*

In Test

Operational

In Development

First launch date

January 2001

February 2011

October 2012

Planned 2020

Table 2: Key parameters of all the constellations available on 1 June 2015

*Note: GPS/DASS satellites are S-band satellites. They are viewed as experimental payloads and cannot, therefore, be considered for long-term MEOSAR operations. Their operational use on a temporary basis for the MEOSAR EOC and IOC (Initial Operating Capability) is authorized, however.

• December 31, 2014: The Cospas-Sarsat MEOSAR Space Segment, as of the end of 2014, comprises operational payloads with L-band downlinks, installed on three navigation satellite constellations, namely Galileo, GPS III (9+), and Glonass K, ensuring over 72 payloads in orbit beyond 2025. The MEOSAR Development and Evaluation (D&E) currently relies on non-operational DASS payloads with S-band downlinks, primarily hosted on GPS II satellites, which will also serve MEOSAR pre-operational purposes. Currently, 16 DASS POC payloads with S-band are in orbit, and an additional 12 payloads are anticipated to be deployed by 2019. Additionally, two L-band MEOSAR payloads, part of the future operational system, are accessible for MEOSAR usage, distributed between Glonass-K1 and Galileo-IOV satellites, with more Galileo FOC satellites anticipated to join in 2015. Approximately 35 L-band payloads are scheduled for operational deployment by 2019.

• December 1, 2014: The LEOSAR spacecraft currently consist of five operational satellites: SARSAT-7, SARSAT-10, SARSAT-11, SARSAT-12, and SARSAT-13. SARSAT-8 was decommissioned on June 8, 2014, due to a spacecraft bus failure. Upcoming LEOSAR launches include the Russian Cospas-13 and Cospas-14 in 2016 and 2017, respectively. The U.S. LEOSAR program is in the planning and funding process for a dedicated Low Earth Orbit (LEO) satellite to be launched into an ascending early afternoon orbit, with an estimated launch no earlier than 2019.

- The GEOSAR space segment comprises seven satellites operating at Full Operational Capability (FOC). This includes two Indian geostationary satellites, INSAT-3A at 93.5º E and INSAT-3D at 82º E; two U.S. geostationary satellites, GOES-15 (West) at 135º W and GOES-13 (East) at 75º W; two EUMETSAT geostationary satellites, MSG-2 at 9.5° E and MSG-3 at 0°; and one Russian geostationary satellite, Electro-L1 operated at 76º E. The GEOSAR constellation aims to maintain and expand its capabilities with the anticipated launch of MSG-4 (2015), GOES-R (2016), and GOES-S (2017).

- The MEOSAR satellite constellation includes three operational L-band satellites (Glonass-K1, Galileo IOV-3, and Galileo IOV-4) and 16 GPS II satellites equipped with experimental DASS (Distress Alerting Satellite System) repeaters and an S-band downlink for the Cospas-Sarsat Program. Two Galileo FOC satellites, carrying L-band SAR payloads, launched in August 2014, with uncertainties regarding their operational capabilities. The USA plans to incorporate Canada-supplied L-band SAR repeaters on 24 GPS satellites, starting with the ninth GPS Block III satellite, potentially by 2020. 27)

• December 31, 2013: Cospas-Sarsat alert data played a crucial role in assisting 720 distress incidents, resulting in the rescue of 2,156 individuals. Since its inception in September 1982, the Cospas-Sarsat System has contributed to the rescue of at least 37,211 people in 10,385 Search and Rescue (SAR) events. Specifically in aviation, Cospas-Sarsat was instrumental in 153 incidents, leading to the rescue of 348 individuals. Notably, it provided the sole alert in 23 aviation incidents and the first alert in 65 incidents. Regarding beacon production, there were approximately 1,600,000 406-MHz beacons in use globally by the end of 2013, representing a 6.7% increase from the previous year. The production of beacons capable of acquiring and transmitting position data from radionavigation satellites, known as "location protocol beacons," rose from 61.4% in 2012 to 67.7% in 2013, albeit marginally. 27)

Figure 19: Number of SAR Events and Persons Rescued with the Assistance of Cospas-Sarsat Alert Data (January 1994 to December 2013)
Figure 19: Number of SAR Events and Persons Rescued with the Assistance of Cospas-Sarsat Alert Data (January 1994 to December 2013)

• January 23, 2013: The Galileo search and rescue package, known as MEOSAR, has been successfully activated during its first switch-on, indicating its effective functionality. This marks a significant expansion of the Cospas–Sarsat network, which provides crucial assistance to distressed air and sea vessels. The activation of MEOSAR on the second pair of Europe's Galileo navigation satellites, IOV-3 and IOV-4, launched together in October 2012, represents a milestone as these satellites are the first in the Galileo constellation to host SAR search and rescue repeaters. These repeaters have the capability to detect UHF signals from emergency beacons aboard ships, aircraft, or carried by individuals, and subsequently relay this vital information to local authorities for prompt rescue operations. 28)

• February 28, 2010: Cospas-Sarsat has been actively working on defining the operational characteristics of a new generation of 406 MHz beacons, with discussions taking place at the Experts’ Working Group on Next Generation Beacon Requirements held in Washington, D.C., USA in September 2010. Progress continues in the development of the next-generation satellite system for Cospas-Sarsat, known as MEOSAR (Medium-altitude Earth Orbiting satellites for Search And Rescue). Anticipated data availability for early operational use is scheduled from 2014, contingent on the presence of operational MEOSAR satellites and ground receiving stations (MEOLUTs). The advent of MEOSAR satellites offers potential advancements for 406 MHz beacons, which will have implications for both beacon owners and system operators, particularly if a return link capability is widely adopted by users. Such a capability could have a significant impact on the management of SAR (Search and Rescue) operations, necessitating comprehensive evaluation and collaboration with SAR authorities. Notably, the 406 MHz beacon population has been steadily increasing and is projected to reach one million beacons by the end of 2010, underscoring the success of the program (Ref. 11).

• December 31, 2009: The year 2009 marked the 30th anniversary of the signing of the first Cospas-Sarsat Memorandum of Understanding (MOU). This event was celebrated in October 2009 in Montreal, Canada, during 43rd Session of the Cospas-Sarsat Council.

• February 1, 2009: The termination of satellite signal processing for 121.5 / 243 MHz beacons was attributed to the superior performance of 406 MHz beacons. These 406 MHz beacons emit stronger, more accurate, and traceable distress signals, resulting in quicker and more precise detection, with each beacon transmitting a unique identifier. As of February 2009, the COSPAS-SARSAT system comprised 5 LEOSAR satellites in Low Earth Orbit, 5 GEOSAR satellites, 45 LEOLUTs, 19 GEOLUTs, and 29 Mission Control Centers. Over 600,000 406 MHz beacons (Figure 20) were in use, contributing to the rescue of more than 22,400 individuals in approximately 6,200 SAR events since the system's inception in September 1982. Numerous countries and organizations participated in the COSPAS-SARSAT initiative to enhance global search and rescue efforts. These are: Algeria, Argentina, Australia, Brazil, Canada, Chile, China, Cyprus, Denmark, France, Germany,Greece, Hong Kong, India, Indonesia, Italy, ITDC (International Telecommunication Development Corporation), Japan, Korea, Madagascar, Netherlands, New Zealand, Nigeria, Norway, Pakistan, Peru, Poland, Russia, Saudi Arabia, Singapore, South Africa, Spain, Sweden, Switzerland, Thailand, Tunisia, Turkey, UK, USA, Vietnam. 29) 30) 31)

Figure 20: Estimated 406 MHz beacon population at the end of 2007 (image credit: COSPAS SARSAT Secretariat)
Figure 20: Estimated 406 MHz beacon population at the end of 2007 (image credit: COSPAS SARSAT Secretariat)

LEO Satellites in polar or near-polar orbits

Payload

Spacecraft

Launch Date

Status/Comment

Orbit (km)

COSPAS-1

Cosmos 1383

June 29, 1982

Decommissioned (March 1988)

989 x1082, 83º

COSPAS-2

Cosmos 1447

Mar. 24, 1983

Decommissioned (Dec. 1989)

959 x 1013, 83º

COSPAS-3

Cosmos 1574

June 21, 1984

Decommissioned (June 1990)

965 x 1005, 83º

COSPAS-4

Nadezhda-1

July 4, 1989

Not in continuous operation

960 x 1014, 83º

COSPAS-5

Nadezhda-2

Feb. 27, 1990

Decommissioned (Feb. 1996)

956 x 1021, 83º

COSPAS-6

Nadezhda-3

Mar. 12, 1991

Decommissioned (Sept. 2001)

958 x 1018, 83º

COSPAS-7

Nadezhda-4

July 14, 1994

Decommissioned (July 1997)

954 x 1005, 83º

COSPAS-8

Nadezhda-5

Dec. 10, 1998

Decommissioned (Sept. 2001)

870 km, 98.74º

COSPAS-9

Nadezhda-6

Jun. 28, 2000

Decommissioned (Aug. 2007)
(121.5 MHz only)

686 x 712, 98.1º

COSPAS-10

Nadezhda-7

Sept. 26, 2002

Decommissioned (March 2004)
(called Nadezhda-M), start with SARP-2 configuration

987 x 1022, 83º

COSPAS-11

Sterkh-1

July 21, 2009

Replacement of the Nadezhda S/C series.
However, Sterkh 1 failed to properly align its solar panels with the sun due to a malfunction of the satellite's flight control system. Sterkh-2 failed to properly deploy its stabilization boom.

 

COSPAS-12

Sterkh-2

Sept. 17 2009

 

COSPAS-13

Sterkh-3

planned in 2012

 

 

COSPAS-14

Sterkh-4

planned in 2013

 

 

 

 

 

 

 

SARSAT-1

NOAA-8

Mar. 28, 1983

Decommissioned (Dec. 1985)

801 x 826, 98.2º

SARSAT-2

NOAA-9

Dec. 12, 1984

Decommissioned (Dec. 1997)
SARP not operational for 406 MHz

842 x 862, 98.9º

SARSAT-3

NOAA-10

Sept. 17, 1986

Decommissioned (Aug. 2001)

803 x 824, 98.7º

SARSAT-4

NOAA-11

Sept. 24, 1988

Decommissioned (June 16, 2004)

845 x 863, 98.9º

SARSAT-5

NOAA-13

Aug. 9, 1993

S/C failure 12 days after launch

 

SARSAT-6

NOAA-14

Dec. 30. 1994

Decommissioned on May 23, 2007

848 x 861, 98.9º

 

 

 

 

 

SARSAT-7

NOAA-15 (K)

May 13, 1998

Start with SARP-2 configuration
Operational of 406 MHz link
121.5/243 MHz processing ceased on 1 Feb. 2009

833 km, 98.86º

SARSAT-8

NOAA-16 (L)

Sept. 21, 2001

Operational of 406 MHz link
121.5/243 MHz processing ceased on 1 Feb. 2009
SARSAT-8 was decommissioned on June 8, 2014.

 

SARSAT-9

NOAA-17 (M)

Jun. 24, 2002

Operational of 406 MHz link
121.5/243 MHz processing ceased on 1 Feb. 2009

 

SARSAT-10

NOAA-18 (N)

May 20, 2005

Operational of 406 MHz link
121.5/243 MHz processing ceased on 1 Feb. 2009

 

 

 

 

 

 

SARSAT-11

MetOp-A

Oct. 19, 2006

First installation of SARP-3 (2-way messaging services)
Operational of 406 MHz link
121.5/243 MHz processing ceased on 1 Feb. 2009

817 km, 98.7º

SARSAT-12

NOAA-19 (N')

Feb. 6, 2009

Operational since June 2009, 406 MHz link
SARP-3 with two-way messaging services

830 km, 98.6º

SARSAT-13

MetOp-B

Sept. 17, 2012

Operational since Jan. 29, 2013

817 km, 98.7º

 

 

 

 

 

GEO Satellites furnished with experimental Search and Rescue Equipment

GEOSAR

GOES-7

Feb. 26, 1987

First demonstration payload in GEO

 

GEOSAR

GOES-8

Apr. 13, 1994

GOES-8 was decommissioned on April 1, 2003

 

GEOSAR

GOES-9 (J)

May 23, 1995

Decommissioned on June 15, 2007
Since Apr. 2003, GOES-9 is providing backup service for GMS-5 of Japan, GOES-9 was decommissioned on June 15, 2007

155º E

GEOSAR

GOES-10 (K)

Apr. 25, 1997

Decommissioned in Dec. 2009 due to end-of-fuel

135º W

GEOSAR

GOES-11 (L)

May 3, 2000

Operational

135º W

GEOSAR

GOES-12 (M)

July 23, 2001

In standby since April 14, 2010
Will be drifted to 60º W in May 2010 to support users in South America

75º W

GEOSAR

GOES-13 (N)

May 24, 2006

Operational since April 14, 2010

105º W

GEOSAR

GOES-15 (P)

March 4, 2010

In-orbit storage

105º W

GEOSAR

Meteosat-8 (MSG-1)

Aug. 28 2002

Decommissioned on May 13, 2008

9.5º E

GEOSAR

Meteosat-9 (MSG-2)

Dec. 22, 2005

Operational in 2015

GEOSAR

Meteosat-10 (MSG-3)

July 05, 2012

Operational in 2015

 

GEOSAR

MSG-4

planned for 2015

 

 

 

 

 

 

 

SASAR

INSAT-2

July 9, 1992

Decommissioned

 

SASAR

INSAT-2B

July 22, 1993

Decommissioned in 2001, but still used for SASAR services

 

SASAR

INSAT-2C

Dec. 6, 1995

 

93.5º E

SASAR

INSAT-2D

June 3, 1997

S/C lost Earth lock in Oct. 1997

 

SASAR

INSAT-3A

Apr. 9, 2003

Operational, SASAR transponder in S-band

93.5º E

SASAR

INSAT-3D

July 25, 2013

INSAT-3D was declared operational on January 15, 2014

82º E

 

 

 

 

 

COSPAS

GOMS-1
(Electro-1)

Oct. 31, 1994

GOMS-1 mission operations were ended in Nov. 2000

76.5º E

GEOSAR

GOMS-2 (Electro-L)

Jan. 20, 2011

Nominal operations of Electro-L were started in January 2012.

76º E

GEOSAR

Luch-5A

Dec. 11, 2011

Russian GEO communication satellite which features also a GEOSAR system

167º E

GEOSAR

Luch-5V

Apr. 28, 2014

Russian GEO communication satellite which features also a GEOSAR system

 

 

 

 

 

 

MEO Satellites furnished with experimental Search and Rescue Equipment

SAR/Glonass

Glonass-K1 No 1

Feb. 26, 2011

First Glonass navigation satellite to carry an experimental MEOSAR payload on 3rd generation satellite

19,000 km altitude

SAR/Glonass

Glonass-K1 No 12L

Nov. 30, 2014 (UTC)

 

 

SAR/Galileo

VOV-3, IOV-4

Oct. 12, 2012

First Galileo navigation satellites of ESA carrying a MEOSAR payload

23,222 km altitude

SAR/Galileo

FOC-1, FOC-2

Aug. 22, 2014

A launch anomaly occurred and the operational capability of these satellites remains uncertain.

 

Table 3: Overview of SAR (Search & Rescue) payload launches

 

Ground Segment

The emergency signals are detected by the space segment (such as COSPAS-SARSAT) and relayed to LUTs which process the signals to determine beacon location. Alerts are then relayed, together with location data, via MCC (Mission Control Center) to the appropriate search and rescue point of contact or to RCC (Rescue Coordination Center).

Doppler location is the means used for signal location. The 406 MHz devices include an identification code in the alert message. Most 406 MHz devices also include a 121.5 MHz homing transmitter to support search and rescue operations. 33) 34) 35)

The 406 MHz emergency beacon signals are immediately processed and stored onboard the satellite and are transmitted to the ground from a continuous memory dump, providing complete worldwide coverage. Around the world, ground station LUTs (Local User Terminal) acquire the processed data and unique beacon identification and send these located and identified alerts to MCCs (Mission Control Centers), which forward the alerts to appropriate Rescue Coordination Centers for action. The 406 MHz beacons are designed to work well with the satellite; the system nominally provides better than 4 km accuracy, 90% ambiguity resolution on first pass, and better than 90% location probability on one pass. Note: the US SARSAT operational ground system facilities consist of SARSAT, SOCC at Suitland, MD as the MCC, and three LUTs. In addition to the US facilities, many other cooperating nations operate their own LUTs and MCCs.

The 121.5 MHz emergency beacons, whose use predates the satellite system, have not been specified to work with the satellite; consequently the results are variable, depending on the quality of the beacon. Nominally, location accuracy is about 20 km. All the processing is accomplished within the LUT, and because the satellite does not store these data, only beacons with mutual view of the satellite and LUT will be detected. No identification is included with the 125.5 MHz transmissions. Consequently, many nonbeacon sources are also detected as beacons, increasing the difficulty of using these alerts. Even with these problems, the large number of beacons in the field have provided an impressive performance history.

- The first rescue using Cospas-Sarsat took place near Dawson Creek, British Columbia, in September 1982 - just days after the first satellite was launched (June 1982). A pilot and two passengers were rescued from a plane crash. The signal was received using the world's first ground station, which was designed and built by Canadian industry and located at CRC (Communications Research Center).

- By the end of 2002, the COSPAS-SARSAT system had assisted in the rescue of over 15,700 persons in distress in about 4,500 SAR events (this includes maritime, aviation and land SAR events). About 100 people per month are rescued from distress situations ranging from plane crashes and boating accidents to hiking mishaps. 36)

- By the end of 2009, the COSPAS-SARSAT System had provided assistance in rescuing more than 27,000 persons in over 7,500 incidents (globally since 1982).

MCCs have been set up in most countries operating at least one LUT. Their main functions are to collect, store and sort the data from LUTs and other MCCs; provide data exchange within the Cospas-Sarsat System; and distribute alert and location data to associated RCC (Rescue Co-ordination Centers) or to SPOCs (SAR Points Of Contacts). In a nutshell, MCCs provide the distress alert and other related information to SAR authorities.

Basic tasks of MCCs (Mission Control Centers):

• Receive data from national LUTs and foreign MCCs

• Attempt to match signals coming from the same beacon source

• Merge beacon signals from the same source to improve location accuracy

• Geographically sort data to determine appropriate recipient of alert message

• Transmit alert messages to search and rescue authorities.

The initial MCCs of COSPAS-SARSAT system were provided by the agencies of the four founding countries who signed the MOU in 1979, namely the USSR (Russia), USA, France and Canada.

- CMC (Russian MCC, located in Moscow, Russia)

- USMCC (US MCC located at NOAA in Suitland, MD) 37)

- FMCC (French MCC located at CNES in Toulouse, France) 38)

- CMCC [Canadian MCC of DND (Department of National Defense) located in Trenton, Ontario]

The CMC and the USMCC distribute orbit ephemeris data for the COSPAS and SARSAT spacecraft daily. They automatically receive, process, confirm by their own calculations, and transmit the ephemeris data to the other MCCs and their own LUTs. - In 2010, there are about 30 MCCs distributed on a global scale.

 

LUTs (Local User Terminals):

There are various types of LUTs in the COSPAS-SARSAT ground system: 39)

1) LEOLUTs (Low Earth Orbit Local User Terminals): These operate with the LEOSAR payloads on the various spacecraft in orbit (of the USA, Russia, Europe, etc.)

2) GEOLUTs (Geosynchronous Earth Orbit Local User Terminals): These operate with the GEOSAR payloads flown on various GEO missions

3) MEOLUTs (Medium Earth Orbit Local User Terminals): These are the newest type (next generation) of LUTs in the definition/prototype phase as of 2008; they will be used to operate the future MEOSAR (Medium Earth Orbit Search and Rescue) payloads on the various navigation satellite constellations.

Basic tasks of LUTs:

• Track Cospas and Sarsat satellites

• Recover beacon signals from satellites

• Perform Doppler processing to determine geographic location

• Send resulting Doppler solutions to the associated MCC (Mission Control Center).

Figure 21: Locations of COSPAS-SARSAT LEOLUTs (April 2010), image credit: COSPAS-SARSAT
Figure 21: Locations of COSPAS-SARSAT LEOLUTs (April 2010), image credit: COSPAS-SARSAT
Figure 22: Legend to Figure 21 (image credit: COSPAS-SARSAT)
Figure 22: Legend to Figure 21 (image credit: COSPAS-SARSAT)



 

Sensor Complement (GEO Space Segment)

The GEOSAR system consists of 406 MHz repeaters carried on board various geostationary satellites, and the associated ground facilities, called GEOLUTs, which process the satellite signal. As of 2008, the GEOSAR system is composed of the following spacecraft: 2 GOES satellites of NOAA, MSG-1 (Meteosat-8) of EUMETSAT, and INSAT-3A of ISRO.

GEOSAR (Geostationary Search and Rescue)

With the launch of GOES-H (GOES-7) on Feb. 26 1987, NOAA has started to introduce the SARSAT payload also on its geostationary satellites (406 MHz beacon). The use of geostationary satellites means that the alert signals can be received almost instantly. However, in order to automatically determine the coordinates of the emergency signal, it is necessary to wait for the system's LEO satellite (position determination can only be provided from a system that moves relative to the Earth).
Note: A satellite in GEO remains fixed with respect to an observer on Earth; hence, there is no relative motion between the satellite and the distress beacon in the GEOSAR system - with the consequence of no Doppler shift to automatically locate the beacon. 40)

The GEOSAR system concept thus works in two stages. In the first stage only the emergency signal is received via the geostationary satellite (it is planned to equip GMS and GOMS satellites for this service as well). The received alert signal is transmitted to the search and rescue service to prepare for the operation. In the second stage, the site of the signal origin is determined by the SAR payload on the nearest LEO satellite.

In addition, the capability exists for 406 MHz beacons to encode location information derived from a satellite navigation receiver, such as GPS, Glonass or the future Galileo system, and to transmit this location data along with the beacon identification code.

 

SASAR (Satellite Aided Search and Rescue)

ISRO (Indian Space Research Organization), Bangalore, India, has introduced the “COSPAS-SARSAT” prototype service in 1992 with its SASAR (Satellite Aided Search and Rescue) demonstration payload flown on the GEO INSAT-2 series, starting with INSAT-2A (launch July 9, 1992). Alert messages of the 406 MHz beacon in the ground segment are being received and relayed by the SASAR system.

Based on the performance demonstrations of INSAT, the SASAR system has now been adopted (2004) as an integral part of the international COSPAS-SARSAT system for satellite-aided search and rescue operations complementing the LEOSAR system. 41)

The INSAT-GEOSAR Local User Terminal (GEOLUT), located at Bangalore, is integrated with INMCC (INSAT Mission Control Center). The distress alert messages originating from the Indian service area are detected at INMCC which are passed on to Indian Coast Guard and Rescue Coordination Centers (RCCs) at Mumbai, Kolkata, Delhi and Chennai. Coast Guard, Navy and Air Force carry out the search and rescue activities. The INMCC is linked to the RCCs and other international MCCs through automatic telex and Aeronautical Fixed Telecommunication Network (AFTN). The Indian LUTs and MCC provide service round the clock and maintain the data base of all 406 MHz registered beacons equipped on Indian ships and aircraft. 42)

 


 

Next Generation Satellite Payloads in the MEO (Medium Earth Orbit) Space Segment

The future of COSPAS-SARSAT will be realized through the third phase of development, based on a Medium Earth Orbit Search and Rescue (MEOSAR) system. These new MEOSAR services are being planned by the three navigation system constellations: GPS (USA), GLONASS (Russia), and Galileo (Europe)- also referred to as GNSS (Global Navigation Satellite Systems). The three potential MEOSAR providers have confirmed that their systems would be fully compatible with existing COSPAS-SARSAT beacons of 406 MHz (this includes also new beacon designs with improved capabilities). The density of all the satellites in the three constellations offer the potential of practically immediate (real-time and continuous) alert recognition. It is also planned to use the future beacons with “return link” capability. 43) 44) 45) 46) 47) 48)

All GNSS (Global Navigation Satellite System) satellites feature orbits of about 20,000-23,000 km altitude in various orbital planes with periods of about 12 hours (half a day). Hence, MEO orbits provide considerably longer contact times with the user on Earth's surface, as well as larger footprints than spacecraft in LEO. For the planned MEOSAR payloads on GNSS, it implies that the Doppler shift of 406 MHz beacons will be considerably smaller (than the one experienced on LEOSAR systems), resulting in a reduced location identification capability. On the other hand, the dense future GNSS network (starting from about 2010 onwards) implies, that alert signals from anywhere on Earth will be received simultaneously by several GNSS satellites, thus permitting precise location identification by triangulation algorithms.

The USA MEOSAR program is called the DASS (Distress Alerting Satellite System), Russia's program is called SAR/GLONASS, and the EC program is named SAR/Galileo. In July 2006, the Canadian Government offered to NASA to provide DASS (Distress Alerting Satellite System) transponders for GPS-III series satellites as a continuation of their national contribution to the COSPAS-SARSAT Program. 49)

The ground system of each MEOSAR system implementation will feature MEOLUTs (MEO Local User Terminals) which will be connected to the existing MCCs (Mission Control Centers) of the respective systems (DASS, SAR/GLONASS, SAR/Galileo). 50) 51) 52)

 

Background: In 2000 the United States, the European Commission (EC) and Russia began consultations with Cospas-Sarsat regarding the feasibility of installing 406 MHz SAR instruments on their medium-altitude Earth orbiting (MEO) GPS, Galileo, and GLONASS navigation satellite systems. These MEOSAR constellations—DASS, SAR/Galileo, and SAR/GLONASS—eventually could become components of a 406 MHz Cospas-Sarsat MEOSAR system.

In 2006, the Canadian government offered to provide the DASS transponders for GPS-III satellites as a continuation of their national contribution to the COSPAS-SARSAT program. The payload will be functionally similar to the POC (Proof-Of-Concept) system, though the downlink will operate at 1544 MHz instead of S-band. The system will operate as an independent GPS-III payload.

MEOSAR overcomes the limitations of the current COSPAS-SARSAT system based on satellites that are either in GEO or in LEO. MEOSAR provides visibility of a large portion of Earth's surface and, because of the large number of satellites in each constellation, will be able to to provide near-instantaneous detection, identification, receipt of encoded position, and independent localization of distress beacons. Moreover, since the MEOSAR allows handling of multiple signal paths, the detection and tracking of beacons should become more efficient. Distress calls being located almost instantaneously should allow tracking moving vessels or airplanes in distress.

For the MEOSAR constellations, there is also the capability that the system will be able to return information back to the distress radiobeacon initiator via the MEOSAR downlink. Confirmation to the person in distress - that their distress alert has been received - might improve their morale, thus enhancing their chances for survival. - MEOSAR operational alerts could be available (i.e. start their service) in the timeframe 2014-2016.

The elements of the MEOSAR system are being developed by various agencies/entities:

• Space Segment (GPS, Glonass and Galileo)

• Ground Segment (USA, Canada, Europe, Russia, China, India, etc.). The MEOLUTs (MEO Local User Terminals) are in charge of recovering the message and locating the emergency beacon.

• Beacons: existing 406 MHz beacons will work with MEOSAR, but studies are underway to improve the future beacons.

Figure 23: Comparison of LEO and MEO footprints (image credit: CRC, Canada)
Figure 23: Comparison of LEO and MEO footprints (image credit: CRC, Canada)
Figure 24: Overview of the MEOSAR system concept within GNSS (image credit: ISU Symposium 2010, Strasbourg, Ref. 7)
Figure 24: Overview of the MEOSAR system concept within GNSS (image credit: ISU Symposium 2010, Strasbourg, Ref. 7)

SAR (Search and Rescue) demonstrations from MEO orbits have up to now (2010) been attempted only on a proof-of-concept (POC) basis, utilizing a number of GPS block-II satellites with not-fully-representative SAR payloads. The POC concept trials are based on a number of S-band transponders with on-orbit trials being performed by all Cospas-Sarsat Parties, the RLS (Return Link Service) has not been demonstrated in orbit as yet.

 

DASS (Distress Alerting Satellite System):

When DASS first becomes operational, the space segment will be hosted aboard GPS-III satellites. The operational DASS system will include 406 MHz repeaters (transponders) on all GPS satellites. The operational transponders will use downlinks in the 1544-1545 MHz band (L-band).

The DASS proof-of-concept (POC) and demonstration will be conducted using transponders with S-band downlinks. The DASS POC payloads will operate aboard nine GPS Block-IIR and all Block-IIF satellites. They will use an existing GPS capability to minimize impact to the satellites prior to full fielding of DASS. Beacon signals, without any processing aboard the satellites, will be relayed to the MEOLUT through an existing S-band antenna (2226.42 – 2226.52 MHz). The future operational link will be L-band, a frequency internationally-recognized frequency for this purpose. 53)

The US primary partner agencies involved in the development of DASS are: NASA, NOAA, USAF, and USCG (US Coast Guard). NASA leads DASS planning, development, and proof-of-concept testing efforts. Upon transition to an operational system, DASS is expected to be managed and operationally funded by NOAA, the USAF, and the USCG. 54)

GPS-SAR (GPS Search and Rescue): The GPS-III SAR (Search & Rescue) payload began as the proof-of-concept DASS (Distress Alerting Satellite System), it uses an S-band downlink and was developed by the NASA SAR Mission Office in partnership with the DoD and SNL (Sandia National Laboratory) in support of the NSARC (National SAR Committee) and successfully implemented on GPS -IIR(M), and -IIF space vehicles (Figure 4). NASA has invested about $35M to develop the POC DASS. The operational version of DASS, renamed GPS-SAR (GPS Search and Rescue), is planned for the GPS III constellation starting with Space Vehicle 9 for launch in the 2019 timeframe. Canada is funding and providing the search-and-rescue repeaters for GPS III. GPS-SAR will provide: 406 MHz ‘bent pipe’ repeaters on future GPS satellites; full compatibility with existing and future 406 MHz beacons; and global near-instantaneous detection and location. 55)

Figure 25: Proof-of-concept DASS (image credit: NASA)
Figure 25: Proof-of-concept DASS (image credit: NASA)

Future GPS SAR development could potentially provide additional capabilities such as: a digital message return confirmation message; aids in false alarm mitigation; direct communications with survivors; support rescue force coordination; and reduced interference susceptibility via confirmation.

Figure 26: MEOSAR / DASS overview (image credit: NOAA, Ref. 52)
Figure 26: MEOSAR / DASS overview (image credit: NOAA, Ref. 52)
Figure 27: US MEOSAR ground segment design (image credit: NOAA)
Figure 27: US MEOSAR ground segment design (image credit: NOAA)

 

SAR/Galileo (Search and Rescue Service / Galileo constellation):

The SAR/Galileo system will provide two services to improve the time to detection and the accuracy of location of distress beacons over the current COSPAS/SARSAT system in LEO:

- FLS (Forward Link Service) - also known as the 'alert service'

- RLS (Return Link Service).

Whereas the forward link based service can be seen as an upgrade of the currently operational LEO and GEO equivalents, Galileo foresees in addition to include a new service, the RLS , which will provide the user in distress with a confirmation that its call for help has been received and that aid is underway.

The unprecedented service levels in terms of distress localization accuracy and response time are obtained by the innovative algorithms developed within the European MEOLUT station on ground, which is connected to the associated COSPAS-SARSAT MCC (Mission Control Centre) which in turn will eventually launch the rescue operations.

The RLS (Return Link Service) relays Return Link Messages from the RLSP (Return Link Service Provider) to new generation beacons through the Galileo navigation signal. The RLS provides technical acknowledgments, after successful detection and localization of an active beacon, and operational acknowledgements after the deployment of a rescue team. 56)

Figure 28: SAR/Galileo system architecture (image credit: ESA, Indra Espacio)
Figure 28: SAR/Galileo system architecture (image credit: ESA, Indra Espacio)

The approach of the SAR/Galileo program is the use of a comprehensive SAR-VTB (Search and Rescue Service - Validation Test Bench), within the context of the Galileo FOC (Full Operational Capability) system tools procurement, which comprises the procurement of a wide range of tools for performance evaluation, test benches, signal monitoring facilities and simulation facilities. Actually, two versions of the SAR-VTB facility are foreseen to be developed and integrated, to experiment with the IOV (In-Orbit Validation) and FOC Galileo configurations, respectively. 57)

The C/S POC (COSPAS/SARSAT Proof-Of-Concept) will eventually become the C/S D&E (Demonstrator & Evaluation) system, then the C/S IOV (In-Orbit Validation), and lastly the C/S FOC (Full Operational Capability) system as shown in Figure 29. The SAR-VTB shall be able to operate independently of the operational COSPAS-SARSAT system, using the COSPAS-SARSAT Network Emulator, but shall be capable of interfacing with it (LUT-to-MCC and nodal-MCC -to-RLSP).

The SAR-VTB is based on a number of modules developed in or for the IOV phase of the GALILEO project. The SAR elements to be considered for integration into the SAR-VTB include existing developments. These include the elements developed in the GISAR (Galileo Interfaces for SAR).

Figure 29: SAR/Galileo as part of the MEOSAR system (image credit: ESA)
Figure 29: SAR/Galileo as part of the MEOSAR system (image credit: ESA)

The European MEOLUT SAR/Galileo prototype station has been developed under the GISAR (Galileo Interfaces for Search and Rescue) implementation contract FP6 (Sixth Framework Program) of the EU and its installation realized at the CNES Toulouse site (France). 58)

GISAR (or GISAR) provides the following features:

• Satellite tracking, up to 4 satellites

• Signal In Space acquisition in SAR/Galileo downlink band (1544.05 – 1544.15 MHz) and DASS POC band (2226.42 – 2226.52 MHz)

• Beacon message demodulation

• TOA/FOA (Time of Arrival/Frequency of Arrival) measurement with high accuracy

• SAR beacon localization

• Interface with MCC.

Figure 30: SAR-VTB in the first stage - components and interfaces overview (image credit: ESA)
Figure 30: SAR-VTB in the first stage - components and interfaces overview (image credit: ESA)
Figure 31: SAR-VTB in final stage (image credit: ESA)
Figure 31: SAR-VTB in final stage (image credit: ESA)

• In October 2013, ESA completed a pair of dedicated ground stations at opposite ends of Europe. This enabled the first Galileo satellites in MEO to participate in global testing of the COSPAS–SARSAT (S&RSAT) search and rescue system. - The Maspalomas station, at the southern end of the largest island of the Canary Islands, at the southern fringe of European waters, was activated in June 2013. And this last month has seen the Svalbard site on Spitsbergen in the Norwegian Arctic come on line — the two sites can already communicate and willsoon be performing joint tests. 59)

Founded by Canada, France, Russia and the US, COSPAS–SARSat has assisted in the rescue of tens of thousands of souls in its three decades of service. Distress signals from across the globe are detected by satellites, then swiftly relayed to the nearest search and rescue (SAR) authorities.

Figure 32: Photo of the MEOLUT (MEO Local User Terminal) at the Maspalomas station (image credit: ESA)
Figure 32: Photo of the MEOLUT (MEO Local User Terminal) at the Maspalomas station (image credit: ESA)

The Galileo satellites, tested in combination with the same SAR payloads on Russian Glonass satellites as well as compatible repeaters on a pair of US GPS satellites, showed an ability to pinpoint simulated emergency beacons down to an accuracy of 2–5 km in a matter of minutes. Maspalomas and Spitsbergen will combine with a third station at Larnaca in Cyprus, currently approaching completion. These three sites are monitored and controlled from the SAR Ground Segment Data Service Provider site, based at Toulouse in France.

Each site is equipped with four antennas to track four satellites. The stations are networked to share raw data, effectively acting as a single huge 12-antenna station, achieving unprecedented detection time and localisation accuracy.



1) Cospas-Sarsat homepage, URL: http://www.cospas-sarsat.org/

2) “COSPAS-SARSAT System Monitoring and Reporting,” C/S A.003, Issue 1, Revision 7, October 2000

3) http://searchandrescue.gsfc.nasa.gov/cospas_sarsat/index.html

4) Y. G. Zurabov, K. K. Ivanov, A. D. Kuropyatnikov, “COSPAS-SARSAT satellite system,” The Third International Conference on Satellite Communications (ICSC'98), Moscow, Russia, Sept. 22-24, 1998

5) http://www.sarsat.noaa.gov/faq.html#about_cospas_sarsat

6) J. V. King, “New Developments in the COSPAS-SARSAT Satellite System for Search and Rescue,” Proceedings of IAC 2004, Vancouver, Canada, Oct. 4-8, 2004, IAC-04-M.4.07

7) Dany St-Pierre, “The International Cospas-Sarsat Programme:- A quiet and sustainable success story,” ISU Symposium - The Public Face of Space, Strasbourg, France, February 16-18, 2010

8) Daniel Levesque, “The COSPAS-SARSAT Programme,” SAR Conference, "Funding & Organisation of Improved SAR Services for Africa,' Saly-Portudal, Senegal, October 25-28, 2004

9) J. V. King, “Overview of the Cospas-Sarsat Satellite System for Search and Rescue,” URL: http://spacejournal.ohio.edu/pdf/king.pdf

10) Daniel Levesque, “Cospas-Sarsat 1979-2009, A 30-year Success Story,” Cospas-Sarsat Information Bulletin Enclosure Issue 22 - February 2010

11) “Celebrating 30 Years of Success - 1979-2009,” Cospas-SARSAT Information Bulletin, Issue 22, Feb. 2010, URL: https://www.cospas-sarsat.int/images/
stories/SystemDocs/Current/bul22_feb2010_final_smallsize.pdf

12) http://www.cospas-sarsat.org/index.php?
option=com_content&view=article&id=178&Itemid=143&lang=en

13) “Cospas-Sarsat french mission control centre (FMCC) now relaying alerts from MSG-1 European weather satellite,” Sept. 22, 2003

14) “February 1, 2009: The Phaseout of 121.5 MHz Beacons for Satellite Distress Alerting,” URL: http://www.sarsat.noaa.gov/

15) http://www.sarsat.noaa.gov/Phaseout_Brochure.pdf

16) http://www.sarsat.noaa.gov/

17) “Emergency Position-Indicating Radio Beacon,” URL: http://www.absoluteastronomy.com/topics/Emergency_Position-Indicating_Radio_Beacon

18) COSPAS-SARSAT LEOSAR Space Segment Commissioning Standard,” C/S T.004, Issue 2, October 2009, URL: http://www.cospas-sarsat.org/images/stories/SystemDocs/Current/T4OCT29.09.pdf

19) Dany St-Pierre, Andryey Zhitenev, “Cospas-Sarsat Update and Beacon Activities,” 2008 Beacon Manufacturers’ Workshop San Diego, CA, USA, May 9, 2007, URL: http://www.sarsat.noaa.gov/BMW%2008%20attachments/Cospas-Sarsat%20Report%202008%20BMW.pdf

20) http://www.cospas-sarsat.org/index.php?
option=com_content&view=article&id=230&catid=29&Itemid=100&lang=en

21) Search and Rescue Repeater and Processor (SARR and SARP), URL: http://poes.gsfc.nasa.gov
/sarr-sarp.html

22) http://www.esa.int/esaLP/SEMV4DG23IE_LPmetop_0.html

23) “Description of the Payloads Used in the COSPAS-SARSAT LEOSAR System;” C/S T.003, Issue 4, Oct.. 2008, COSPAS-SARSAT

24) Danny Baird, ”NASA Emergency Beacons Save Lives in 2021,” NASA Feature, 21 January 2022, URL: https://www.nasa.gov/image-feature/
goddard/2022/nasa-emergency-beacons-save-lives-in-2021

25) “Status and Developments in Cospas-Sarsat - ICAO (International Civil Aviation Organization),” Third Meeting of the Asia/Pacific Regional Search and Rescue Task Force (APSAR/TF/4), Bangkok, Thailand, 06 – 10 July 2015, URL: http://www.icao.int/APAC/Meetings/
2015%20APSARTF4/WP05%20Status%20and%20Developments%20in%20Cospas-Sarsat%20with%20app.pdf

26) “Galileo’s contribution to the MEOSAR system,“ EC (European Commission), June 18, 2015, URL: file:///G:/desktop35.ileaf/Galileo%E2%80%99s%20contribution%20
to%20the%20MEOSAR%20system%20-%20European%20Commission.htm

27) International Cospas-Sarsat Program, “Status and developments in COSPAS-SARSAT,” Third Meeting of the Asia/Pacific Regional Search and Rescue Task Force (APSAR/TF/3), Maldives, 25 – 29 January 2015, URL: http://tinyurl.com/npluaz7

28) “Galileo's search and rescue system passes first space test,” ESA, Jan. 23, 2013, URL: http://www.esa.int/Our_Activities/Navigation/Galileo_s_search_and_rescue_system_passes_first_space_test

29) “Cospas-Sarsat Information Bulletin,” Issue 21, Feb. 2009

30) “Cospas-Sarsat Information Bulletin,” Issue 20, Feb. 2008

31) Cospas-Sarsat System Data, No 32, Dec. 2006, COSPAS-SARSAT, URL: http://www.bethandevans.com/pdf/SARCOMSATDEC06.pdf

32) Dany St-Pierre, “Cospas -Sarsat presentation,” ITU, Nov. 13, 2014, URL: http://tinyurl.com/oe27tgq

33) Advanced TIROS-N (ATN) NOAA-I, NASA /NOAA Bulletin 1991

34) “Proceedings of the Twenty-Third International Symposium of Remote Sensing Environment,” Vol. I, Bangkok, Thailand, April 18-25, 1990,, Erim, P.O. 8618 Ann Arbor Mich. p. 94

35) Y. G. Zurabov, “The COSPAS-SARSAT System: Results and Prospects,” Space Bulletin, Vol. 1, No. 1 1993, pp. 11-13

36) COSPAS-SARSAT Information Bulletin No 16, Aug. 2003

37) “United States Mission Control Center (USMCC), National Rescue Coordination Center (RCC) and Search and Rescue Point of Contact (SPOC) Alert and Support Messages,” March 20, 2009, Version 1.82, URL: http://www.sarsat.noaa.gov/rccmsgsv182.pdf

38) Anne-Lise Camus, Thierry Schneider, “French COSPAS-SARSAT Mission Center, A new generation for more efficiency and reliability,” Proceedings of the SpaceOps 2010 Conference, Huntsville, ALA, USA, April 25-30, 2010, paper: AIAA 2010-2170

39) “Local User Terminals (LUTs),” URL: http://www.cospas-sarsat.org/index.php?
option=com_content&view=article&id=166&Itemid=103&lang=en

40) “The Cospas-Sarsat Geostationary Search and Rescue (GEOSAR) System,” URL:
http://www.cospas-sarsat.org/index.php?option=com_content&view=article&id=175&Itemid=99&lang=en

41) “United Nations - India Workshop on Satellite -Aided Search and Rescue (SASAR),” Workshop Report, Bangalore, India, March 18-22, 2002, URL: http://www.oosa.unvienna.org/pdf/sap/2002/india/sarrepE.pdf

42) P. Soma, S. K. Shivakumar, N. K. Shrivastava, D. John, A. Bhaskaranarayana, “Indian Mission Control Centre (INMCC) for Search & Rescue – Facilities, Performance and Contribution

43) http://searchandrescue.gsfc.nasa.gov/dass/internationalefforts.html

44) “Galileo to support global search and rescue,” Aug. 9, 2007, URL: http://www.esa.int/esaCP/SEMZAJUL05F_Improving_0.html

45) W. Enderle, “Growing Galileo,” Nov. 14-15, 2007, Brussels, Belgium

46) COSPAS-SARSAT 406 MHz MEOSAR Implementation Plan,” C/S R.012, Issue 1 – Revision 2, October 2006, URL: http://www.cospas-sarsat.ru/DocumentsRSeries/R012OCT06.pdf

47) Jim King, “Overview of MEOSAR System Status,” BMW-2009 (Beacon Manufactures Workshop), St. Pete Beach, FLA, USA, URL: http://www.sarsat.noaa.gov/BMW%202009_files/Overview%20of%20MEOSAR%20Status%20System.pdf

48) Yana Gevorgyan, “Update on COSPAS-SARSAT Program Activities,” 52nd session of UN COPUOS (Committee on the Peaceful Uses of Outer Space), June 3-12, 2009, Vienna, Austria, URL: http://www.oosa.unvienna.org/pdf/pres/copuos2009/tech-33.pdf

49) “Mid-Earth Orbiting Search and Rescue (MEOSAR) - Transition to Operations,” RCC (Rescue Coordination Centers) Controller Conference, Feb. 23-25, 2010, Suitland, MD, USA, URL: http://www.uscg.mil/hq/cg5/cg534/EmergencyBeacons/2010SarsatConf/MEOSAR_Overview.ppt

50) http://searchandrescue.gsfc.nasa.gov/dass/groundsystem.html

51) http://www.navnin.nl/NIN/Downloads/SARl.pdf

52) Chris O'Connors, “MEOSAR Overview,” NOAA, March 24-28, 2014, URL: http://tinyurl.com/k82lepc

53) http://searchandrescue.gsfc.nasa.gov/dass/spacesegment.html

54) http://searchandrescue.gsfc.nasa.gov/dass/index.html

55) Stephanie Wan, A. J. Oria, “GNSS Civilian/Military Dual-Use Policy Issues,” Proceedings of the 64th International Astronautical Congress (IAC 2013), Beijing, China, Sept. 23-27, 2013, paper: IAC-13-B2.7.1

56) J. Perlas, X. Maufroid, L. Ruiz, I. Stojkovic, “SAR/GALILEO Services and European MEOLUT Performance Results with DASS POC,” Proceedings of ENC-GNSS 2009, Naples, Italy, May 3-6, 2009

57) Igor Stojkovic, Luis Arguello, Marco Falcone, “Validation Test Bench for Galileo Search and Rescue Service,” Proceedings of ENC-GNSS 2009, Naples, Italy, May 3-6, 2009

58) “SAR/Galileo Early Service Demonstration & the MEOLUT Terminal,” Galileo Application Days, Brussels, Belgium, March 3--5, 2010, URL:  https://web.archive.org/web/20160410042532/http://www.application-days.eu/presentations/day2/social/13_galileo_appl_days_finalv2_indra.pdf

59) “European Ground Stations enable Galileo Search and Rescue Testing,” ESA, Oct. 8, 2013, URL: http://www.esa.int/Our_Activities/Navigation/
European_ground_stations_enable_Galileo_search_and_rescue_testing

 

User Segment   Spacecraft   Payloads (LEO)   Mission Status     Ground Segment   Payloads (GEO)   References    Back to top

FAQ

Terms and ConditionsCookie NoticePrivacy NoticeLeave FeedbackContactAbout

© 2026